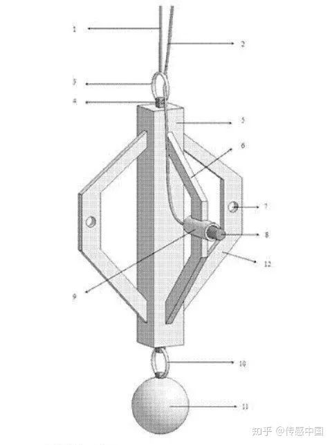
武汉大学公开了一种水下压力传感器定位装置及水下爆破压力监测方法,包括柱体、设于柱体下端的配重、设于柱体侧面的翼型固定架、以及用于安装压力传感器的圆筒,柱体上端通过固定线与浮于水面的浮标相连,圆筒设于翼型固定架上,圆筒轴线与柱体轴线方向垂直,柱体侧面还设有多个与牵引线相连的翼型牵引架;将安装好压力传感器的定位装置通过固定线与浮标相连并移至需要监测的水域,选择合适大小的配重,通过固定线调整好深度;将牵引线与翼型牵引架相连,通过牵引线调节压力传感器的测量探头对准爆源;将压力传感器的数据传输电缆与数据采集仪相连;即可进行对水下爆破压力的监测;这个发明造价低,在保证测量精度的同时大大节约成本。






以上信息来源于武大知识产权,如有侵权,请联系小编及时删除!
北京优利威专业提供各种传感器技术解决方案
如有需求或技术咨询,请拨打客服电话:010-51294688
或关注优利威官方微信公众号:传感应用

(Automated Guided Vehicle,简称 AGV),通常也称为 AGV 小车, 指装备有电磁或光学、惯性导航等自动导引装置,能够沿规定的导引 路径行驶,具有安全保护以及各种移载功能的运输车,工业应用中不 需驾驶员的搬运车,以可充电之蓄电池为其动力来源。…[了解更多]
什么是 LVDT?LVDT 是线性可变差动变压器的缩写。它是一种常见类型的机电传感器,可将其以机械方式耦合的物体的直线运动转换为对应的电气信号。LVDT 线性位移传感器即插即用,可以测量各种移动,从小到百万分之一英寸到几英寸,甚至大到 ±30 英寸(±0.762 米)的位移。图 1 显示了典型的 LVDT 元件。该变压…[了解更多]
MEMS传感器作为获取信息的关键器件,对各种传感装置的微型化起着巨大的推动作用,已在太空卫星、运载火箭、航空航天设备、飞机、各种车辆、生特医学及消费电子产品等领域中得到了广泛的应用。…[了解更多]
随着我国对智能化仪表设备的需求不断提升,促使工业传感器也在不断突破,智能传感器已经成为了21世纪最具有影响力的高新技术。近日,我国首个传感器产业园的建成,也推动我国未来传感器的发展。据资料预测,到2030年,全球传感器数量将突破100万亿个,未来,工业传感器将成为自动化仪表生产重点。…[了解更多]
瑞士沙夫豪森---2016年10月3日—全球连接与传感领域领军企业 TE Connectivity董事会今天宣布自2017年3月9日起Terrence Curtin将接替Tom Lynch任公司首席执行官。Curtin目前任TE 总裁,并在2016年3月2日TE 年度股东大会上入选TE 董事会成员。…[了解更多]